Yamaha Ajukan Paten Kendaraan Roda Tiga Baru di Eropa? Fitur Keamanan Modern dan Teknologi Canggih!
Yamaha Ajukan Paten Kendaraan Roda Tiga Baru di Eropa? Fitur Keamanan Modern dan Teknologi Canggih!--Rideapart
JAKARTA, MOTOREXPERTZ.COM -- Dunia otomotif terus berkembang dengan inovasi-inovasi baru, termasuk di segmen kendaraan roda tiga.
Yamaha, sebagai salah satu produsen kendaraan terkemuka, tampaknya tidak mau ketinggalan dalam menghadirkan teknologi terbaru.
Baru-baru ini, pabrikan asal Jepang tersebut mengajukan paten kendaraan roda tiga baru ke Kantor Paten Eropa yang mengungkap pengembangan sistem yang lebih canggih
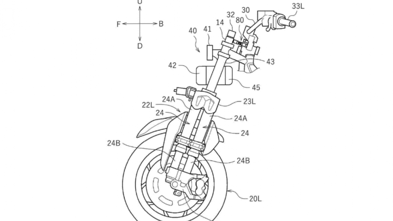
Selama ini, Yamaha dikenal dengan teknologi Leaning Multi Wheel (LMW), yang digunakan pada model seperti Yamaha Tri-City dan Niken.
BACA JUGA:WSBK 2025: Scott Redding Alami Akhir Pekan Sulit di Portimao, Hanya Raih Satu Poin
BACA JUGA:MotoGP Amerika 2025, Marc Marquez: Maaf Kepada Tim
Sistem ini memungkinkan dua roda depan dapat miring hingga 45 derajat untuk menjaga keseimbangan saat berkendara. Namun, paten terbaru menunjukkan bahwa Yamaha sedang mengembangkan sesuatu yang berbeda.
Namun, dalam konsep baru ini, Yamaha akan menambahkan berbagai sensor di rangka kendaraan, seperti sensor kemiringan, sensor kecepatan bodi, dan sensor kecepatan sudut. Selain itu, terdapat motor independen pada setiap roda yang bisa dioperasikan secara manual atau otomatis.

Gambar Paten Kendaraan Roda Tiga Yamaha, Bagian Depan--Rideapart
Salah satu fitur unggulan dari inovasi ini adalah sistem anti-terbalik, yang akan mendeteksi jika kendaraan menikung dengan kecepatan tinggi dan menyesuaikan kestabilannya agar tetap aman.
Selain itu, paten juga menyebutkan kemungkinan adanya sistem deteksi tabrakan depan, yang semakin meningkatkan aspek keselamatan.
BACA JUGA:Pecco Bagnaia Sukses Rebut Kemenangan Perdana Musim Ini di MotoGP Amerika 2025
BACA JUGA:Mudik Lewat Nagrek Jangan Lupa Mampir ke Pit Stop Respiro, Bisa Istirahat sambil Belanja Apparel

Gambar Paten Kendaraan Roda Tiga Yamaha--Rideapart
Temukan konten motorexpertz.com menarik lainnya di Google News
- Tag
- Share
-


